起重機械是八大類特種設備之一。起重機械的產品質量和安全生產不僅關系到生產效率和人民的生命安全,也關系到國家經濟運行安全和社會穩定,是公共安全的重要組成部分。以上海為例,“十一五”期間,中小起重機械事故多發,全市共發生近43起起重機械事故,造成39人死亡、14人受傷;起重機械事故占全市特種設備事故的31%,位居全國第二;在用起重機械定檢的合格率只有9.4%;起重機械安全性能監督檢驗合格率只有0%。統計分析表明:起重機械事故中,設備的無證使用占了事故總數的32%;無證人員作業導致事故發生占了23%;因使用、管理不善導致的事故占事故總數的56%;與維修有關的事故占事故總數的33%。
起重機械安全監管技術列入了《國家中長期科技發展規劃綱要》第58項重大生產事故預警與救援優先主題。國家質檢總局和國家標準化管理委員會也聯合發布GB/T28264-2012((起重機械安全監控管理系統》。因此,應用現代信息管理技術,以生產單位和使用單位為主體,規范、加強起重機械的使用和維保,提高起重機械本質安全性能,防范事故,保障安全,具有重要的經濟意義和社會意義。在1臺在用32t/10t×22.5in、A5工作制通用起重機的繼電器控制基礎上,采用嵌入式技術,對該起重機進行信息化改造,使之初步滿足了國標要求的安全監控管理要求,采集的相關信息可以進一步作為起重機維保和性能評估的依據。
1橋式起重機安全監控系統要求
1.1安全監控系統要求
起重機安全監控系統的信息采集源應依據GB/T28264-2012表1的要求,結合具體情況確定信號源進行安全監控。對橋式起重機應采集的信息源包括:起重量限制器、起升高度限位器/下降深度限位器、運行行程限位器、聯鎖保護安全裝置、同一或不同一軌道運行機構防碰撞裝置、超速保護裝置、起升機構制動器(宜采集)。起重機安全監控系統應對起重機械運行狀態及故障信息進行實時記錄和歷史追溯功能。
1.2電氣控制方式
通用橋式起重機通常采用繼電器、接觸器方式控制。駕駛室控制電器采用聯動臺對起重機進行操作,控制器的布置方式為:右手用一個主令控制主鉤和副鉤,右手主令前一后動作時控制主鉤下一上運行,3~5個擋位,右手主令左一右動作時控制副鉤上一下運行,3~5個擋位;左手一個主令控制大車和小車運行,左手主令前一后動作時控制小車前一后運行,5個擋位,左手主令左一右動作時控制大車左一右運行,5個擋位;聯動臺上設有鑰匙開關、啟動和緊停按鈕、主電源和控制電源指示燈;駕駛室內設有總空氣斷路器、6V低壓風扇、維修插座、照明開關等。通用起重機通常有較為完備的安全保護措施。例如,安裝有起重量限制器進行超載保護,其他的安全保護措施還包括起升上下限位、運行機構行程限位、聯鎖安全保護等。由于采用繼電器控制回路實現,無法進行故障信息的實時記錄和歷史追溯。
1.3安全監控采集信息源
該橋式起重機安裝有起重量限制器,采用ModBusRTU協議,通過RS485總線和起重機安全監控系統連接。起重量限制器以0.5S間隔發送載荷信息,通信協議中包含有循環冗余校驗碼(CRC16)以保證數據傳輸的正確性。起重機中的限位、安全聯鎖等信號為開關量信號。開關量信號又分為無源開關和有源開關,無源開關俗稱干接點,如起升高度限位器/下降深度限位器、大小車行程限位器、聯鎖保護安全裝置、防碰撞裝置等。可通過圖1所示接口電路接入系統,該接口電路具有限流、濾波、鉗位、光電隔離功能,工作可靠,抗干擾能力強;有源開關接點之間有極性,具有有電和無電2種狀態。在起重機的控制回路中,少量用于強電控制回路(~380V)繼電器沒有多余的觸點,為了采集這些繼電器狀態,采用了交流開關隔離變送器,將交流380V信號轉換成TTL電平后接人系統。交流開關隔離變送器采用DC24V供電,輸入/輸出隔離,隔離電壓2500VAC/min,使起重機的控制回路和嵌入式系統隔離,提高了系統的抗干擾能力。
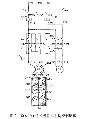
1.4累積工作時間計算
由起重機的電氣控制原理可知(見圖2),起升機構電機由交流接觸器ZC、FC、DC及相應回路控制,因此,采集線圈狀態并進行累加即可統計起重機的累積工作時間,也可以通過起重量信息計算累積工作時間。

2、嵌入式起重機安全監控系統組成
通過對橋式起重機電氣控制原理分析,提出采用嵌入式系統對該起重機進行信息化改造,使之能滿足GB/T28214-2012規定的安全監控要求。嵌入式起重機安全監控系統采用了freescaleiMX25系列32位ARM9核心微控制器(MicroControllerUnit),主頻400M,通過外圍電路擴展,使該系統具有64MDDR2系統內存,128MFlash存儲器。支持實時時鐘、大容量SD卡、1路以太網、多路串行通信(包括RS232、RS485GPRS/CDMA)、工業現場總線(CAN)工業標準TFT彩色LCD、4線制電阻觸摸屏、32路GPIO;支持WindowsCE6.0嵌入式實時系統。通過移植,支持嵌入式數據庫SQLite3。系統組成如圖3所示。
圖3中RS485和起重量限制器連接,實時獲取載荷信息,遠程數據傳輸模塊GPRS(或CD—A)用于和后臺進行數據交換,觸摸屏用于工作狀態顯示和參數設置,實時時鐘用于記錄故障信息的時間戳,SD卡則用于保存故障信息,GPIO則用于采集開關信號的狀態。
3、起重機安全監控系統軟件設計
嵌入式起重機安全監控系統基于WindowsCE.0嵌入式實時系統,移植了基于文件的嵌入式數據庫系統SQLite3,開發工具采用MicrosoftVisualtudio2005。系統組成如圖3所示,上層是起重機安全監控應用程序,下層是嵌入式操作系統WinowsCE6.0和嵌入式數據庫SQLite3。起重機安全監控應用程序通過WindowsCE控制硬件操作。
WindowsCE6.0支持多任務,軟件設計應利用多任務特性以提高程序運行效率。起重機安全監控系統需要執行的主要任務有:
1)定時輪詢安全信號,如果相應的信號被觸發,則記錄信號值及發生的時間;
2)記錄起重機的工作載荷,記錄開始作業的時間和結束作業的時間;
3)作業信息(界面)的更新;
4)作業信息的遠程傳輸,包括通過GPRS撥號建立遠程數據鏈接并進行數據傳輸。
其中1)和2)具有實時j生,3)和4)則是非實時的,應采用不同的方法進行處理。實際中,針對第1種情況,采用了WindowsCE系統自帶的定時器,每隔100ms對L/O信號進行采集,如果信號改變,則記錄相應事件。針對第2種情況,采用了多線程和信號量機制確保及時正確的接收起重量限制器傳送的數據。針對第3種情況,采用了WindowsCE的消息機制更新界面元素。針對第4種情況,則利用了非作業時間進行數據傳送。軟件設計基于WindowsMFC,采用了面向對象技術,圖4顯示了參與通信的各對象之間的交互。和起重量限制器通信過程中涉及了串口類(SefiM)、起重量限制器類(LoadCel1)、應用程序類(App)和界面交互類(Dialog)。應用程序類(App)用于實現全監控系統控制邏輯,初始化界面交互對象(1)、起重量限制器對象(2)和串口對象(3);界面交互類實現了輸入控制和信息顯示;串口類實現了串口的初始化,并啟動單獨的線程(receiver)接收起重量傳感器的數據(4)并進行通信過程中的錯誤處理,例如奇偶校驗錯,然后將接收到的正確字節流數據傳遞給起重量限制器類(5);起重量限制器類對接收的字節流進行緩存,并依據ModBus協議提取其中的載荷信息并進行校驗(6),之后將完整的起重量信息通過消息機制通知界面交互類(7);最后由界面交互類更新起重量信息(8)由于不同類型的起重機顯示的內容差異大,不同類型的起重量限制器其通信協議、解析方法也不同,因此Dialog類、LoadCell類變化較大。而起重機安全監控流程、接收起重量限制器之間的數據通信則是相同的,因此,App類、Serial類相對固定。通過類的抽象和接口定義,將安全監控系統的控制流程和易于發生變化的部分進行了封裝,提高了軟件復用。
采用通道表示某個安全監控信息源,每個通道隸屬某個機構,某個機構可包括多個通道,例如起升機構包含了上限位、下限位、超載等多個通道,借鑒設計模式中的復合模式,構建了如圖5所示的類層次結構,Assembly類抽象了起重機機構,通過該類的Add方法將通道(安全監控信息源)進行動態分類,實現了安全監控信息源的結構化,利于信息的存儲、傳輸和檢索
4、結論和展望
采用嵌人式系統對繼電器控制的32t/|0t×22.5m(A5)通用橋式起重機進行信息化改造,使該起重機初步具備了實施GB/T28264-2012規定的安全監控的條件。通過面向對象技術,將安全監控信息源進行了結構化和層次化,以利于故障信息的存儲和檢索。同時,利用LoadCell等類,將系統中變化部分進行了隔離和封裝,提高了軟件復用。嵌入式系統配置靈活,軟硬件一體,性能強大,完全可以替代傳統的工業控制計算機(IPC),而成本只有后者的1/3,具有很高的性價比。